Gilera Runner 180 2T FXR E1 1998-2002 – Onderdelengroepen
Kies een groep
Selecteer de juiste onderdeelgroep voor deze uitvoering.
Aandrijfschacht
Aangedreven Poelie
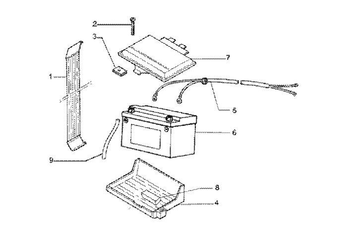
Accu
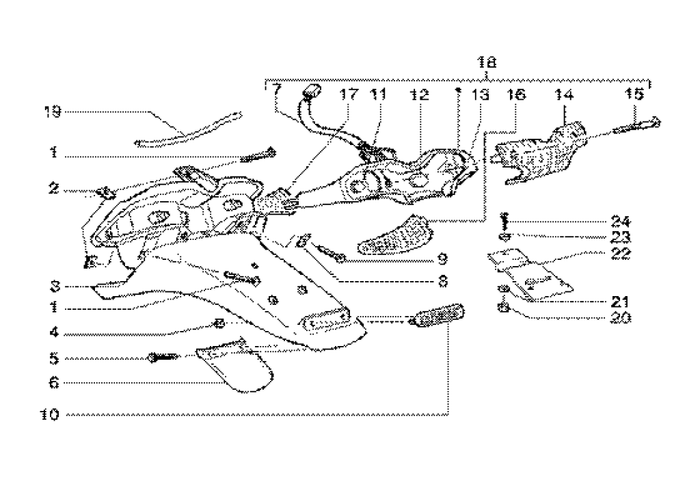
Achterlicht Knipperlicht
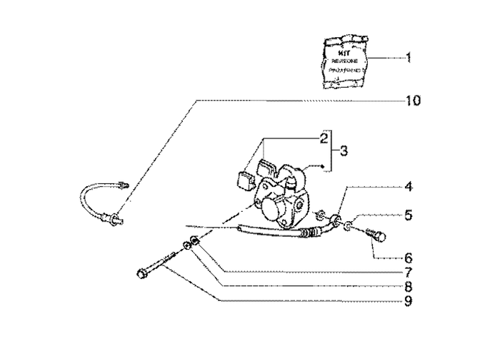
Achterrem
Achterwielvelg2
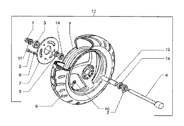
Achterwielvelg
Balhoofdlagerset
Benzinepomp
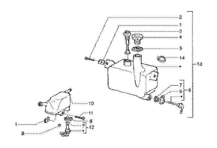
Benzinetank
Benzinetankklep
Beplating2
Beplating3
Beplating4
Beplating5
Beplating
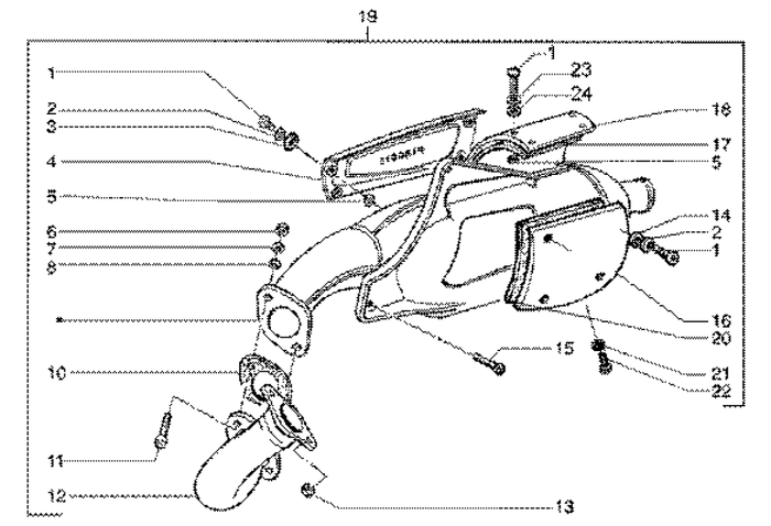
Carbdellorto
Carburateur Mikuni
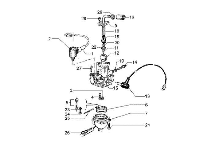
Carburateur
Carter
Chassis Middenstandaard
Cilinder Zuiger
Cilinderkoep Spruitstuk
Elektrische Delen2
Elektrische Delen3
Elektrische Delen
Embleem Stickers Sport
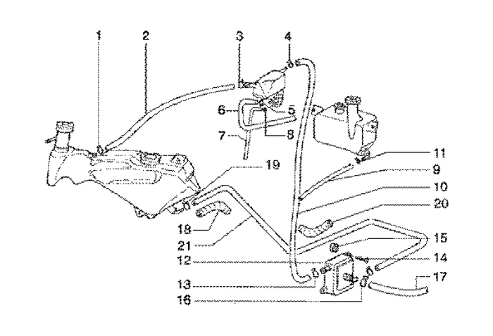
Expansievat
Hoofdremcilinder Rechts Gaskabel
Hoofdremcilinder Rechts Spiegel
Intakepijp
Kabels
Knipperlichtenvoor
Koelsysteem2
Koelsysteem
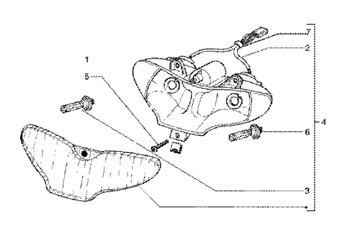
Koplamp
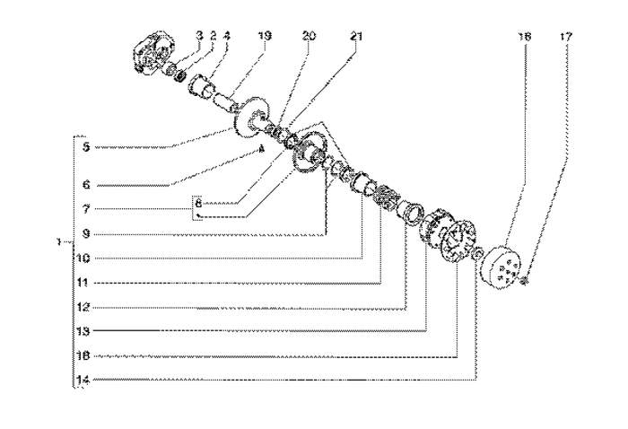
Krukas
Luchtfilter
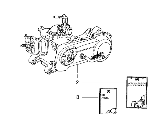
Motor
Oliepomp
Olietank
Remklauwachter
Remklauwvoor
Schokbrekerachter
Schommelarm
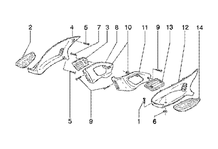
Spatborden
Startmotor Kickstarter
Stickers Emblemen
Stickers Model 2002
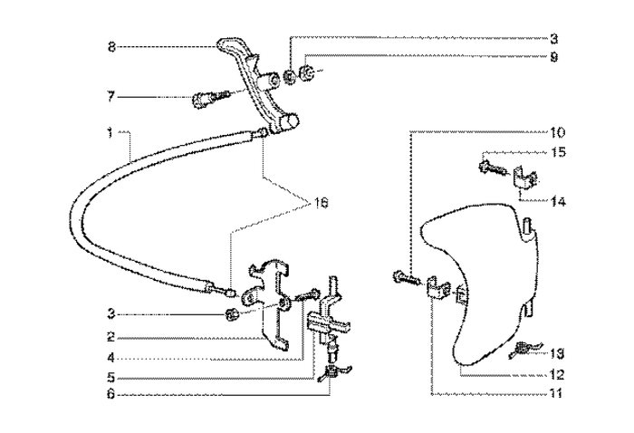
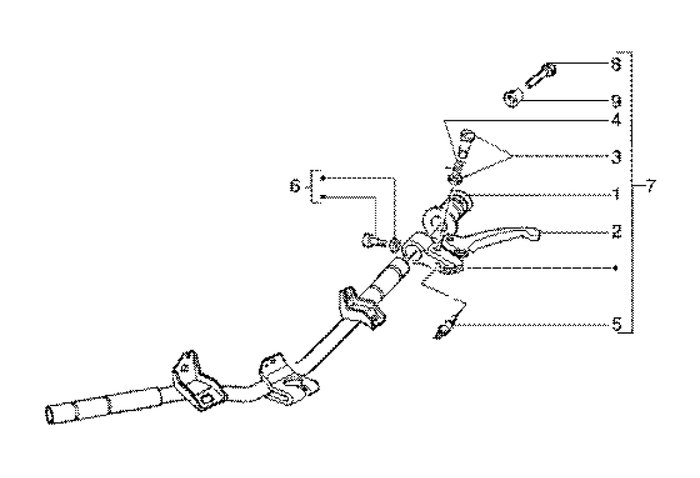
Stuur
Stuurkap Kilometer Teller
Transmissiedeksel
Uitlaat
Variateur
Vliegwiel
Voorwiel
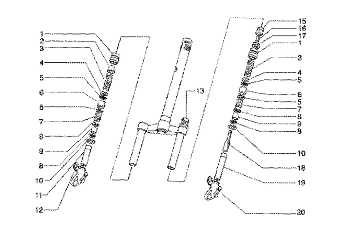
Vork Model 979899
Waterpomp
Windschermzijstandaard
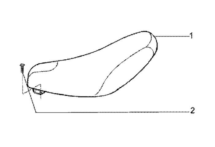
Zadel
×