Vanaf €150 gratis verzending! Bekijk meer

Betaal achteraf met Klarna!

Vandaag besteld, vandaag verzonden! Bekijk meer

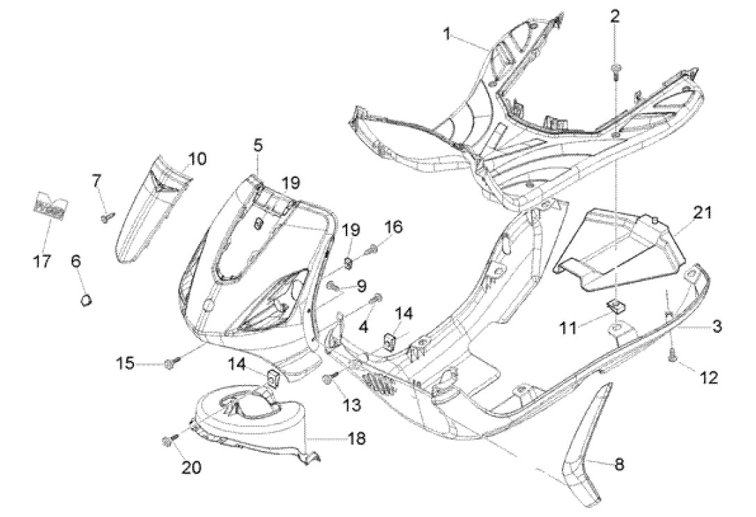
Voorscherm - Treeplank Piaggio Fly 50 2T E2 2004-2005 (EMEA)

Powered by Omni Themes