Piaggio Zip Type 3 – Onderdelengroepen
Kies een groep
Selecteer de juiste onderdeelgroep voor deze uitvoering.
Aandrijfriemschijven
Aandrijfschijf
Achterstof Demper
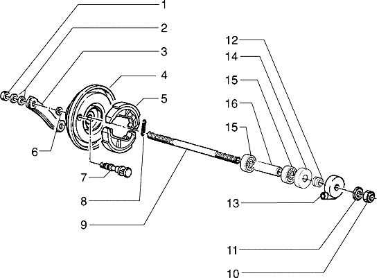
Achterwiel As
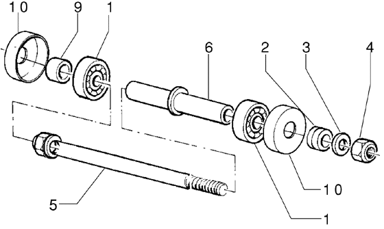
Achterwiel
Bagageruimte
Batterij Fernschakelaars Blinkgeber
Behuizing
Bowdenkabels (schijfremn Version)2
Bowdenkabels (schijfremn Version)
Bowdenkabels2
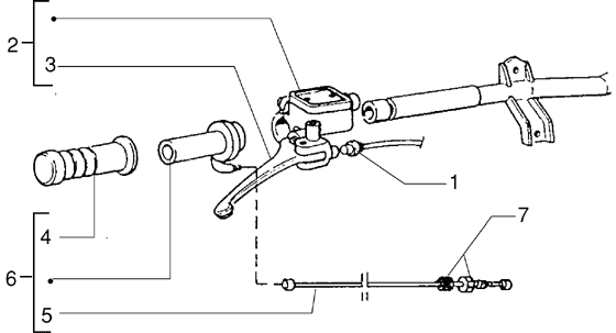
Bowdenkabels
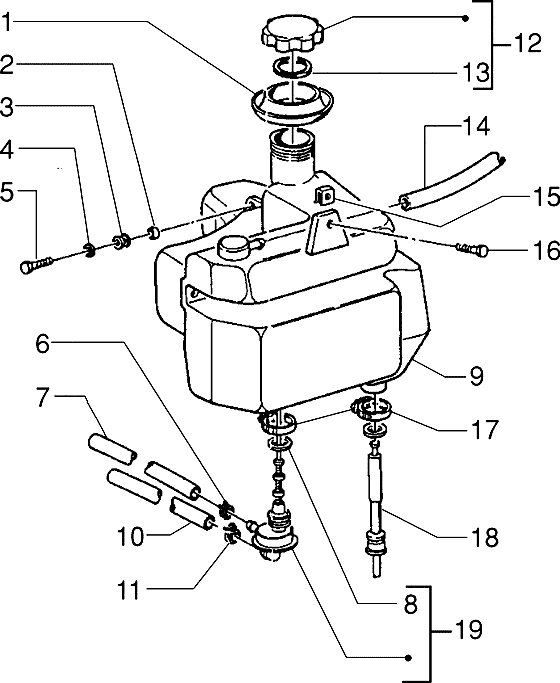
Brandstoftank
Carburateur2
Carburateur
Cilinder Zuiger Zuigerpen Eenheid
Cilinderkop Kuhlhaube Inlaatspruitstuk
Dynamo
Einzeteile Voorwiel (schijfremn Version)
Einzeteile Voorwiel
Frame Frame
Geluiddemper
Kabelbomen2
Kabelbomen
Kabelboom Regulator Bobine
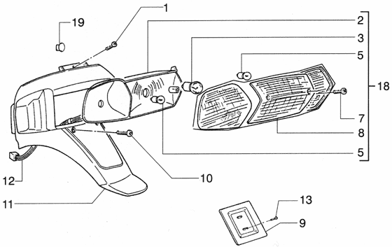
Koplampen
Koppelingsdeksel Lüftergehäuse Deckel
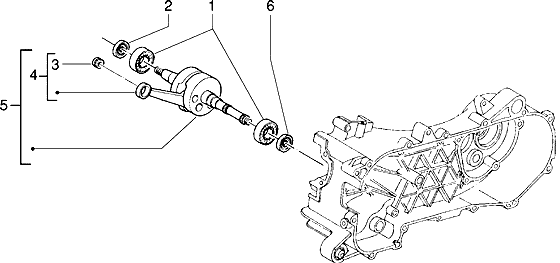
Krukas
Luchtfilter
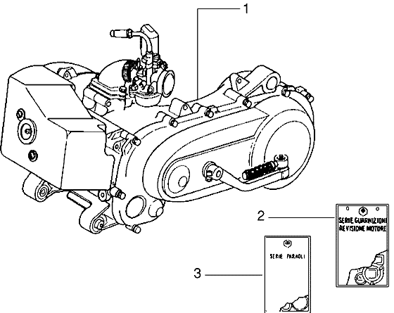
Motor
Oliepomp
Olietank
Remhebel
Schildmasker
Snelheidsmeter Stuurdeckel
Spatbord Voor Achterspatbord
Startmotor Kickstarter
Stoel
Stuur Onderdelen (voertuigen Met Schijfrem Hinten)
Stuur Onderdelen2
Stuur Onderdelen
Stuur
Stuurschakelaars Claxonontsteking Stuurinrichting
Uitlaat Met Katalysator
Vak Voor Veiligheidshelm
Voorwiel Remklauw (schijfremn Version)
Voorwiel
Zijpanelen
Zwaaiarm
×